
Рис. 6.5. Заполнение бачка тормозной жидкостью
Снимите крышку бачка гидропривода тормозов и заполните бачок тормозной жидкостью (рис. 6.5).
|
ВНИМАНИЕ При попадании тормозной жидкости на окрашенные поверхности немедленно вытрите пролитую жидкость. |
|
ПРИМЕЧАНИЕ Не нажимайте на педаль тормоза при прокачке тормозной системы под давлением. |
Подсоедините прозрачный виниловый шланг к штуцеру для прокачки суппорта дискового тормоза или рабочего тормозного цилиндра барабанного тормоза. Опустите свободный конец шланга в емкость с чистой тормозной жидкостью.
Несколько раз нажмите на педаль тормоза.

Рис. 6.6. Удаление воздуха из гидропривода тормозов
Удерживая педаль в полностью нажатом положении, ослабляйте штуцер для прокачки до момента начала вытекания тормозной жидкости. Затем затяните штуцер для прокачки (рис. 6.6).
Повторяйте прокачку до тех пор, пока пузырьки воздуха не прекратят появляться вместе с тормозной жидкостью.
Затяните штуцер для прокачки.
Момент затяжки штуцера для прокачки: 7–13 Н·м.

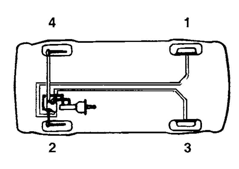
Рис. 6.7. Последовательность удаления воздуха из гидропривода тормозов
Выполните указанную выше процедуру удаления воздуха для тормоза каждого колеса в последовательности, приведенной на рисунке 6.7.
Источник: http://automn.ru/hyundai-matrix/hyundai-37339-10.m_id-4958.m_id2-4959.html