Облицовка передней двери:
- 1 — клеммная гайка, 4 шт.;
- 2 — винт, 4 шт.;
- 3 — винт, 2 шт.;
- 4 — декоративная планка;
- 5 — крышка;
- 6 — винт;
- 7 — разжимная гайка, 4 шт.;
- 8 — облицовка двери.
1. Снятие облицовки передней двери. Откройте дверь. Извлеките крышку (5) из подлокотника и выверните 2 винта (3).
2. Выверните винт (6), отсоедините от облицовки (8) декоративную планку (4) и снимите её вперед.
3. Выверните 4 винта (2). Введите в районе зажимов между панелью двери и облицовкой пластмассовый клин и отсоедините облицовку (8).
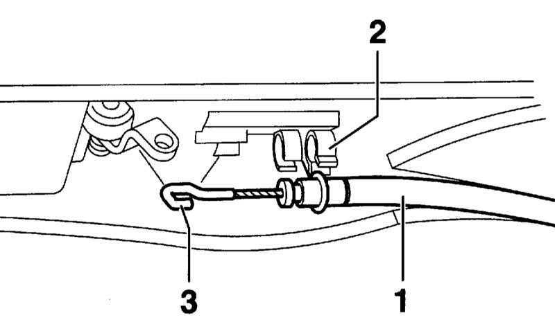
4. Немного отсоедините облицовку израмы двери, вытяните трос (1) привода двери из направляющей (2) и отсоедините его.
5. Отсоедините отрицательный кабель (-) аккумуляторной батареи.
6. Рассоедините разъём блока управления стеклоподъёмником.
7. Рассоедините разъём громкоговорителя.
8. Снимите облицовку с рамы двери.
9. Установка облицовки передней двери. Перед установкой проверьте правильность положения зажимных гаек (1) и разжимных гаек (7) на раме двери, обратитесь к иллюстрации в начале статьи.
10. Установка выполняется в последовательности, обратной снятию. При этом обратите внимание на то, что крючок (3) тяги показывает наверх.
11. Присоедините отрицательный кабель (-) аккумуляторной батареи.
В статье не хватает:
- Качественных фото ремонта
Источник: http://carmanz.com/audi/a4-b6-2000-2004/6630-a4200011-4-12.html#ixzz3cxjlcGbF







